Fissaggio astina a muro

>>> immagine schema 

>>> video  

   ..
Fissaggio astina tra soffitto e pavimento

>>> immagine schema 

>>> video  

   ..
esempio di kit porta comunicazioni / targhe

>>> immagine schema  

>>> video  

   ..
esempio di kit porta cataloghi

>>> immagine schema  

>>> video  

   ..
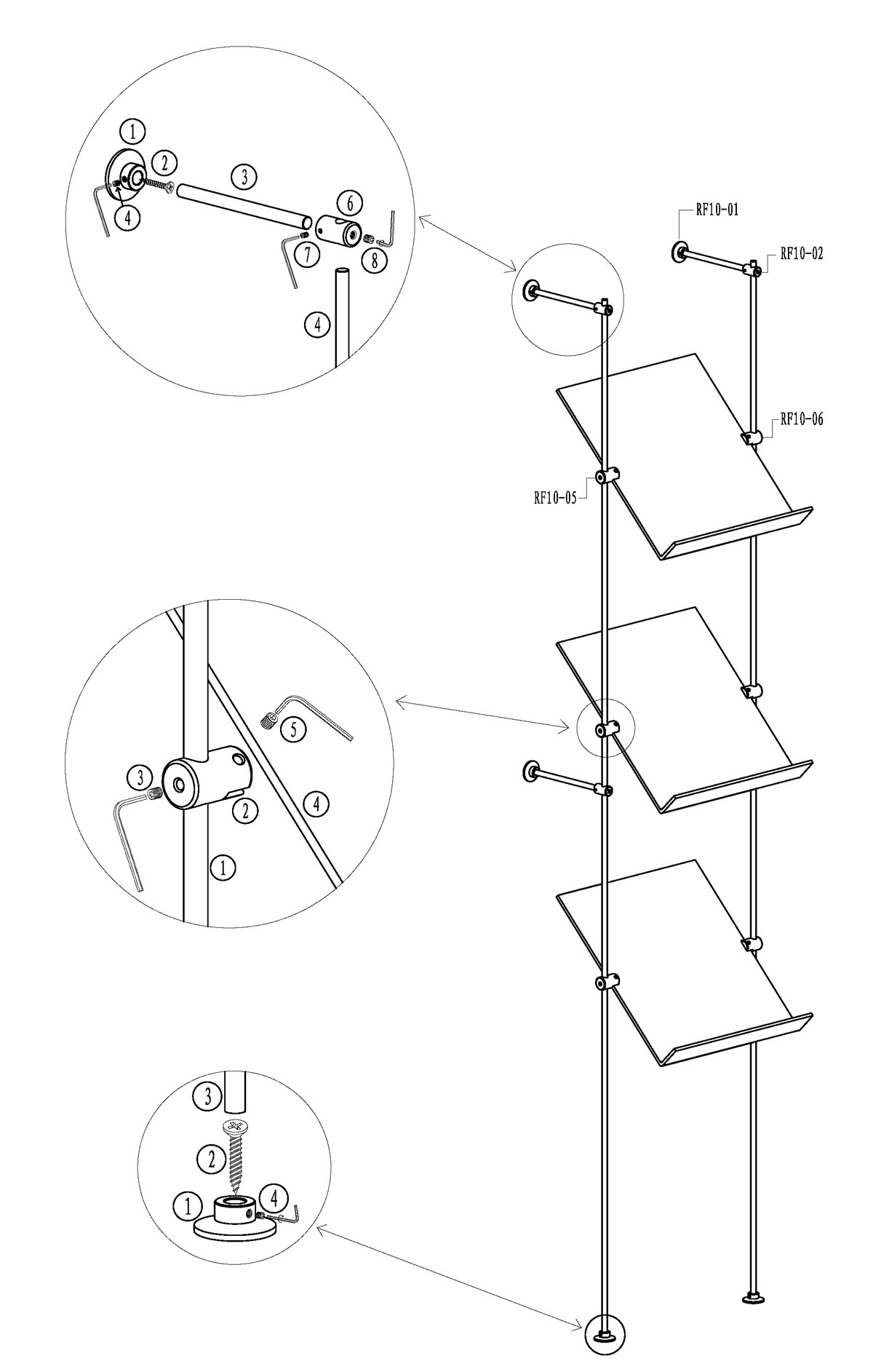
esempio di scaffale

>>> immagine schema  

>>> video